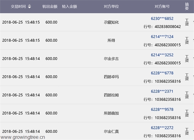
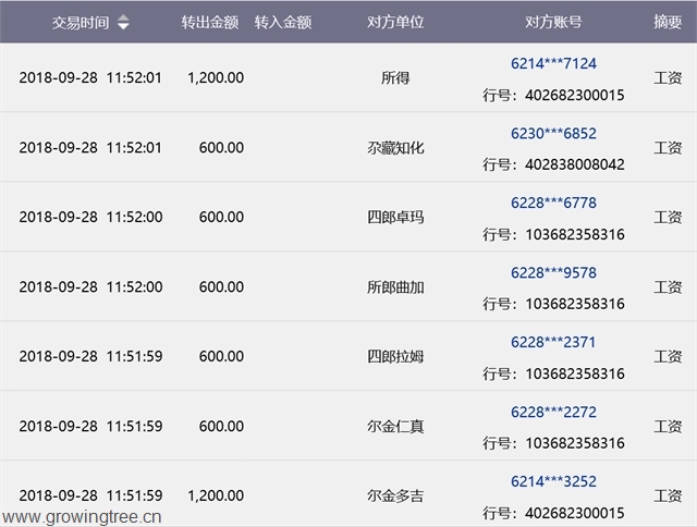
民办老师资助款发放(一对一资助部分2018)
作者: (tyjian66)汤永坚 发表时间: 2018-07-04 07:35:58 更新时间: 2019-01-28 20:33:32 来源: 站内资源
视力保护色: 杏仁黄 秋叶褐 胭脂红 芥末绿 天蓝 雪青 灰 银河白(默认色)打印本页】【关闭窗口








 


 

视力保护色: 杏仁黄 秋叶褐 胭脂红 芥末绿 天蓝 雪青 灰 银河白(默认色)打印本页】【关闭窗口

成长之树官方网站版权声明

成长之树官方网站所发布信息由原创信息、转载信息构成;

凡注明信息来源为站内资源的信息为本站原创信息,其版权为成长之树官方网站所有;

凡注明信息来源为站外资源的信息为本站转载信息,成长之树官方网站不对其观点的正确性和内容的真实性负责;